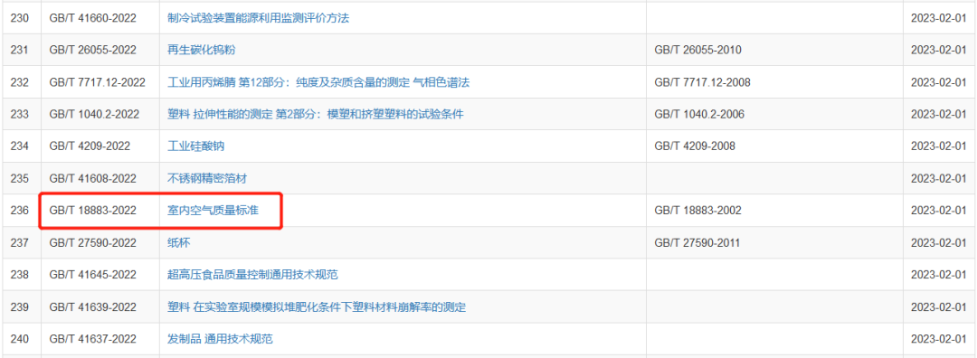
我國新版《室內空氣質量標準》(GB/T 18883-2022)于2022年7月11日經國家市場監督管理總局(國家標準化管理委員會)批準發布,代替GB/T 18883-2002《室內空氣質量標準》,自2023年2月1日起實施。
近日,國家市場監督管理總局(國家標準化管理委員會)批準《塑料 聚丙烯(PP)模塑和擠出材料 第1部分:命名系統和分類基礎》等310項推薦性國家標準和5項國家標準修改單,并予以公布。
目前,新版文檔暫未公開,對于新的標準具體更新哪些指標和內容,尚未可知!但是GB/T 18883-2020《室內空氣質量標準》征求意見稿,曾公布征求一系列數據。根據公開的新版標準征求意見稿,新標準中的限值、指標、檢測方法、采樣方法等方面均有不同程度的更新完善,對室內空氣質量提出了更高的要求。

《室內空氣質量標準》GB/T18883-2020征求意見稿與GB/T18883-2002對比:
GB/T18883-2002


其中,調整了5項指標的限值,有三項關鍵參數進行了限值縮減。包括:甲醛HCHO限值從0.1mg/m3縮緊至0.08mg/m3,苯C6H6限值從0.11mg/m3縮緊至0.03mg/m3。
室內空氣中甲醛的測定標準與流程







《室內空氣質量標準》標準能夠有效支撐社會治理體系與治理能力現代化水平的提升、促進行業高質量發展已成為社會共識。
新版標準的出爐會讓室內空氣質量標準變得更加嚴格、更加細致,對室內空氣環境行業也將產生深遠影響。同時,為室內環境安全提供更有力的標準依據和技術支撐!也讓室內凈化行業的從業人員們更加嚴格按照國家標準開展工作!毫不畏懼地迎接新挑戰,用更好的技術,更嚴格的標準,更精湛的技術,服務好每一位用戶。